Uma ponte rolante é um tipo de guindaste utilizado em fábricas e indústrias para içar e movimentar cargas pesadas, permitindo o transporte de peças de grande porte tanto na horizontal quanto na vertical.
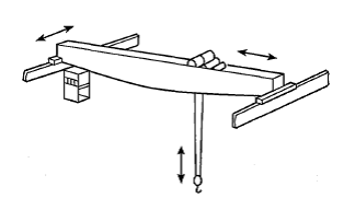
Uma ponte rolante é composta por um par de trilhos paralelos instalados em grande altura nas laterais do edifício, com uma viga metálica móvel que cobre o espaço entre eles. O gancho, dispositivo de elevação da ponte, desloca-se junto com a viga sobre a qual está montado; esse gancho também está alojado sobre outro trilho que lhe permite mover-se entre as duas vigas principais.
Ao contrário dos guindastes móveis ou de construção, as pontes rolantes são geralmente utilizadas em fábricas ou galpões industriais, estando limitadas a operar dentro da estrutura onde estão instaladas.
O uso desse tipo de guindaste aplica-se à indústria do aço, para movimentar produtos acabados como bobinas, tubos e vigas, tanto para armazenamento quanto para carregamento em meios de transporte adequados.
Na indústria subsidiária do cimento, facilita a fabricação de tubos, postes, vigas e outros produtos de grande peso e volume.
Na indústria automobilística e de máquinas pesadas, as pontes rolantes são utilizadas para o manuseio de matérias-primas e, em alguns casos, para a montagem de grandes peças em máquinas rodoviárias (pás carregadeiras, tratores de esteira, motoniveladoras, caminhões).
Quase todas as fábricas de papel utilizam pontes rolantes para manutenção regular, que exige a remoção de rolos e outros equipamentos pesados.
Graças ao nosso simulador, o aluno, além de obter a preparação necessária para poder realizar os trabalhos mencionados no parágrafo anterior, poderá evitar, entre outras, as seguintes situações de risco:




Todo o sistema de entrada de eventos e sinais analógicos do simulador é feito de forma a ser amplamente configurável, podendo usar desde dispositivos de jogos até placas eletrônicas de alto nível.
As pontes rolantes estão localizadas dentro de complexos industriais onde ocorre o movimento de cargas muito pesadas. Esse tipo de guindaste é utilizado para mover essas cargas de forma eficiente e rápida entre qualquer ponto da área de trabalho.
As pontes rolantes possuem 3 eixos de deslocamento. Dessa forma, elas podem posicionar o gancho ou o acessório equipado em qualquer ponto da área de trabalho.

As pontes rolantes podem ser equipadas com uma ampla variedade de acessórios, normalmente ganchos, spreaders, elevadores de paletes, eletroímãs ou elevadores a vácuo, entre outros.

Nosso Simulador de Ponte Rolante permite o treinamento utilizando um modelo de guindaste de gama média. O software possui um design modular composto por cinco subsistemas que permitem maximizar o desempenho das tarefas de treinamento. O sistema instrucional é composto pelos seguintes módulos:
O simulador inclui as funções necessárias para o gerenciamento adequado dos usuários e grupos de trabalho. Por meio da interface, é possível realizar tarefas básicas como criação, edição e exclusão de usuários e grupos, adaptando o uso do simulador às necessidades do cliente. Além disso, permite visualizar estatísticas e avaliações de cada usuário de forma clara e detalhada.
Cada vez que um exercício é realizado no simulador, os dados necessários são armazenados para permitir a avaliação do próprio exercício. Os usuários podem acessar essas informações por meio de um relatório de exercício. Esse relatório contém dados relevantes, como os movimentos realizados ou observações importantes, e é apresentado ao usuário por meio de tabelas e gráficos que mostram detalhadamente cada um dos parâmetros avaliáveis, além de informações de interesse como o tempo de execução do exercício, número do exercício realizado, data, etc.
Uma das características mais benéficas para a formação oferecida pelos simuladores é a possibilidade de reproduzir qualquer exercício que tenha sido realizado anteriormente. Essa funcionalidade é muito importante para identificar os erros cometidos, pois permite reproduzir os exercícios e visualizar a gravação de qualquer ângulo, retrocedendo ou pausando a reprodução.
Além disso, uma situação comum nos processos de formação é que os alunos tendem a cometer sempre erros semelhantes. Com o sistema de debriefing dos nossos simuladores, um instrutor pode reproduzir exercícios de qualquer aluno com o objetivo de mostrar aos novos alunos os erros que devem evitar cometer.